Flap Configurations on Actual Aircraft
Here are a few images showing high lift devices on actual aircraft.

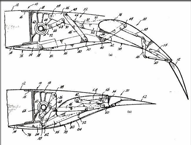
If I'm not mistaken, I believe these are for the Douglas Aircraft type of flaps.
The difference is that Douglas chose linkages & pushrods, where Boeing chose the jackscrew method.

Some very nice drawings of the flap mechanism on a Russian airliner

Equally nice drawings for the spoiler mechanism on the same Russian airliner

Again, some very nice drawings of some retractable slat mechanisms.