Flap Setups for RC
Item |
Notes |
Image (click to view) |
|
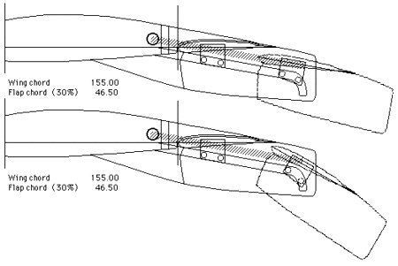
Fowler flap motion study |
These drawings came from Craig Golema. |
|
|
Fowler flap mechanical linkages |
These nice photos also came from Craig. |
|

This is the double-slotted Fowler flap, utilizing a fixed hinge point. (Mike James)

This is ThunderAI's 3-view of the Piper "Meridian" he is building. See the article on RC Universe, here.

This drawing, from "ThunderAI" is from his Piper "Meridian" project. Here are his comments about the animation:
1. Each animation cell (frame) is the result of 10 degrees of servo arm movement. So after 6 frames the servo arm has moved 60 degrees.
2. The large black arc that showes up in the one frame is not artistic talent, but my error, I forgot to remove the servo linkage distance arc, used to measure the arc the servo linkage would travel. This helps place the flap in the proper location, while the rails guide the angle.
3. I did this quick so there are other errors as well. For example the flap has a balsa block nose which does not move it says in location throughtout the animation. You can see it as the third line ( half solid, half slotted ). Otherwise its a nice little animation that showes you how the flaps will work.

If you want to do leading edge flaps, a separate leading edge must be built under it, to keep the airflow smooth. This is only a rough drawing, not precision geometry. A more circular shape will provide smoother operation.

The red dot in these images represents the hinge location for a fighter-type LEF. (Leading Edge Flap)

Here's the actual application of the concept above./
I've shown the axis of rotation (hinged at the bottom) as a circle.
In real applications, you would only need to build about 45 degrees of the arc into your wing.

A simple & effective method for making slats, from Gordon Whitehead.
For Gordon's book,(ISBN 0-903676-08-7) Write to:
Gordon Whitehead
RM Books Division
Chart Hobby Distributors Ltd
LittleHampton West Sussex, UK

A nice CAD animation, done by another RCU participant

Here's a clever version of a flap hinge, done with LEGO blocks.

Another contributor from RC Universe, "Toy264", sent this image of the setup for his warbird.
His comments on it:
Here's a sketch of what I'm using for a warbird. Two mid-chord carriers slide on tracks in the "roof" of the wing. Two pins (not shown) on the flap leading edge ends, slide in guide slots in the adjacent ribs.


